蓝鲸新闻11月26日讯(记者 张书维)日前,蓝鲸新闻注意到,数库(上海)科技有限公司(下称“数库科技”)被上海市闵行区人民法院发布限消令。
根据限消令内容,法院表示立案执行申请人高某申请执行数库科技劳动仲裁一案,因数库科技未按执行通知书指定的期间履行生效法律文书确定的给付义务,因此发布限消令,对数库科技及其法人刘彦限制高消费。
据了解,法院发布的限消令中表示本次限消令主要是针对2024年10月21日高某申请执行与数库科技之间的劳动仲裁,当时数库科技被法院列为被执行人,执行标的13194元。

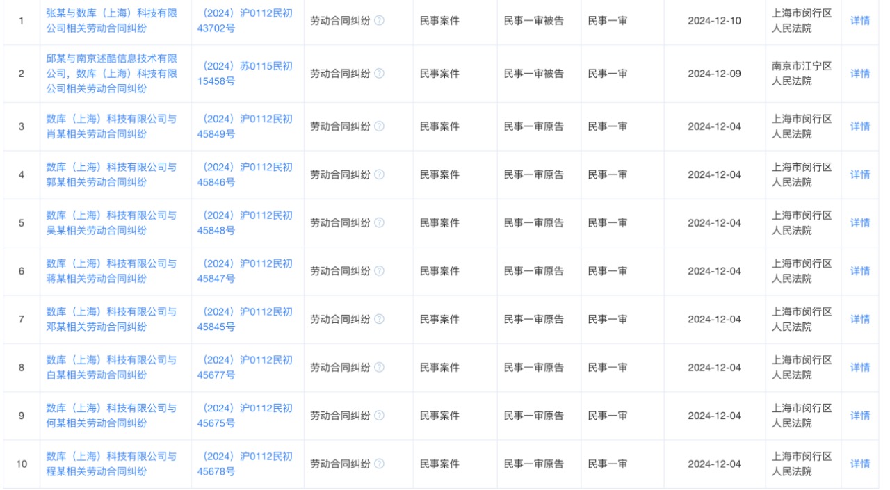
除此之外,蓝鲸新闻注意到,天眼查数据显示,数库科技新增十余起开庭公告,案件多涉及劳动合同纠纷。

公开资料显示,数库科技成立于2009年9月,法人、董事长为刘彦,注册资本为9784万元。共经历四轮融资,投资方有京东科技、金浦投资、穆迪中国、中新基金、源星资本。
数库科技官网介绍,其是一家产融数字化的数据科技公司,主要在金融及产业领域提供基于产业逻辑的数据产品与系统服务,为金融机构、企业集团、政府部门解决业务场景中的数据和系统需求。利用NLP对信息进行智能提取,形成结构化数据、产业链及图谱数据体系,并在底层建立自动化数据生产系统。
业务方面,数库科技的解决方案包括银行对公数字化平台、区域产业招商数字化平台、量化投研。
其中,银行对公数字化平台即为商业银行公司条线打造对公数字化营销系统,即提供营销获客、行业分析,以及智能风控服务,支持公司条线从产业链获客、园区获客、关系链拓客、商机情报各种维度,找到有资金需求、可高转化、风险可控的潜在企业信贷客户,形成营销线索和潜在的联络方向等,为银行线上信贷业务提供支持。
通过数库科技官网介绍可以看出,数库科技主要提供的数据服务是类似于同花顺、雪球类的证券行情交易平台,以及天眼查类的企业信息查询平台这两方面的数据,即覆盖股票联动关系、市场情绪、企业工商信息、新闻、政策、行业指标、供应链等信息。
作为“金融数据服务商”,根据数库科技官网介绍,近年来数库科技屡传喜报,多次入选行业优秀案例,包括入选中关村互联网金融研究院第三届中国金融科技应用场景创新优秀案例成果、入选朋湖榜“2023数字技术创新企业TOP20”、区域招商数字化方案入选“2023年全国十大引领型案例”,以及入选2023年度上海市“科技小巨人”培育企业等。